说之前,先科普下:iPhone 有国行、港版、美版、日版、欧版等等,这些我就不过多解释了。
黑解是什么意思?
黑解是一种解锁方式,就是有锁机,只是通过黑解绕过了网络锁而已,把网络锁解开之后就跟无锁机一样插卡直接用,不过刷机或者还原会失效,也就是需要重新“黑解”。
但很多商家喜欢叫它“黑解无锁机”,其实这就是混淆 你的视听,不要以为黑解机就是无锁机哦!
(图1)网友说她买了一台红色黑解iPhone13,该机的外观成色不错,而且价格还是很合理,仅需要4000元,但到货之后网友通过IMEI查询整机报告的时候发现,这台iPhone13该机的黑名单状态居然是“失窃”。

(图2)详情我们来看看,网友 查询整机报告结果的数据。
可以看到她这台iPhone13,该机的ID锁是关闭状态,运营商为T/S,有网络锁。
购买地点:是美国(美版)。
黑名单状态为“丢失或失窃”。难道这是丢失机吗?其实并不是,ID黑白为“失窃”才是丢失机或被盗机。黑名单黑白“丢失或失窃”其实是被运营商拉黑了,至于为什么会被拉黑,那可能性就多了,比如欠费!
从其他信息看,黑解机和无锁机的主频都是一样的,CPU主频为3.2GHz。

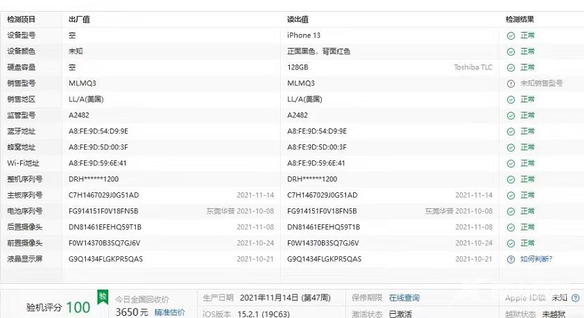
(图3)但是这台iPhone13该机的验机报告全绿,验机报告看的是硬件信息,如果iPhone有隐藏ID、有配置锁、有网络锁、拉黑设备等等,是看不出来的!当然验机报告也能改,所以要注意,现在验机报告只能作为参考,不能当真!

个人观点:
1??黑解主要是价格相对于国行来说便宜,预算够的人最好是不要考虑黑解。,买到后最好也是不要刷机或者还原,因为有时候黑解通道会关闭,2021年有段时间就是,不过现在解封了。
2??因为黑解的存在,所以很多奸商就会把黑解机当无锁机卖,所以建议大家入手后还是查查 整机报告看看报告结果的数据,看看是不是一台无锁机,是否扩容了,因为很多时候你看到的只是商家想让你看到的。
所以说,只要有利润,就算风险再大也还是会有商家去做这种事,所以购机需谨慎,切莫贪小便宜?找准口碑好的商家,收到后看看整机报告有没有货不对板,有没有数据异常等。
郑重声明:本文由网友发布,不代表盛行IT的观点,版权归原作者所有,仅为传播更多信息之目的,如有侵权请联系,我们将第一时间修改或删除,多谢。